物件掲載企業数:301|賃貸物件:3,194件|売買物件:3,237件|今週の登録物件:240
閲覧中のブラウザ(インターネットエクスプローラー)は非推奨ブラウザです。
物件が正しく表示されなかったり、正しく検索されない場合があります。最新のブラウザ(Google Chrome・Edgeなど)にてご利用お願いいたします。
  

新潟県三条市荒町2丁目5番8号 倉庫・工場・その他 8.8万円の物件情報

屋根・外壁一部張替済み!駐車場2台可

物件名
所在地
面積
間取り
所在階
築年数
方位
賃料
管理費等
共益費
敷金
保証金
礼金
種別
構造
◆貸倉庫事務所◆三条市荒町二丁目
新潟県三条市荒町2丁目5番8号
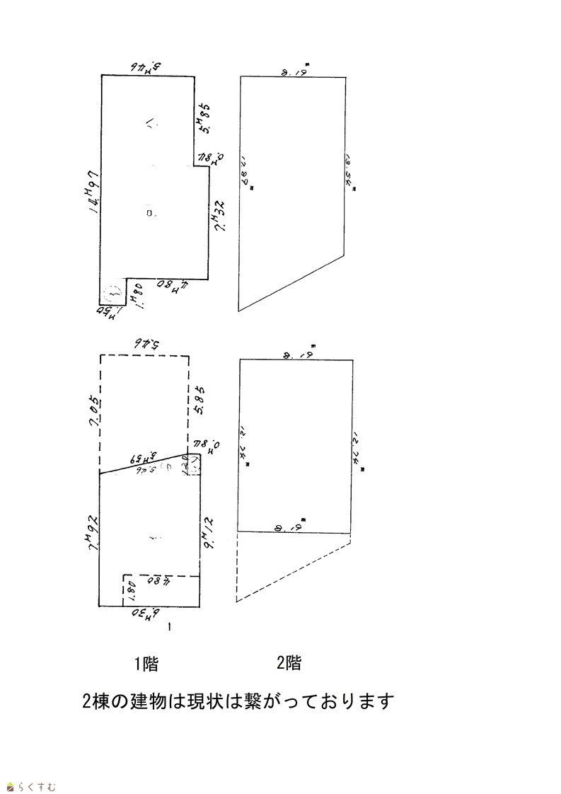
367.97㎡
(111.31坪)
-
-
54年
-
8.8万円
なし
なし
2ヶ月
なし
なし
倉庫・工場・その他
木造鉄骨
  • ◆貸倉庫事務所◆三条市荒町二丁目
    株式会社 ユタカ不動産
  • この物件を問い合わせる/無料
  • TEL: 0256-35-5825

物件画像

外観 間取り
物件画像
※画像クリックで拡大表示
外観
物件画像
※画像クリックで拡大表示
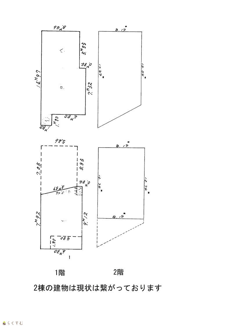
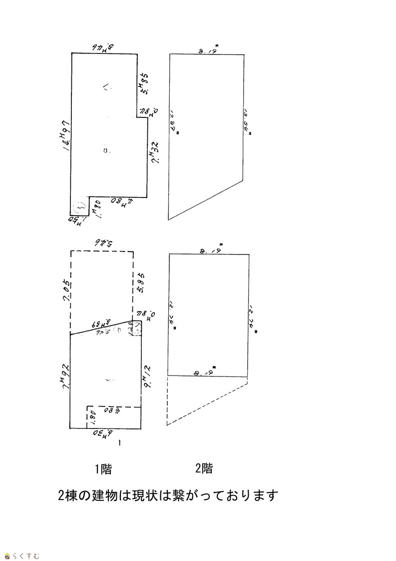
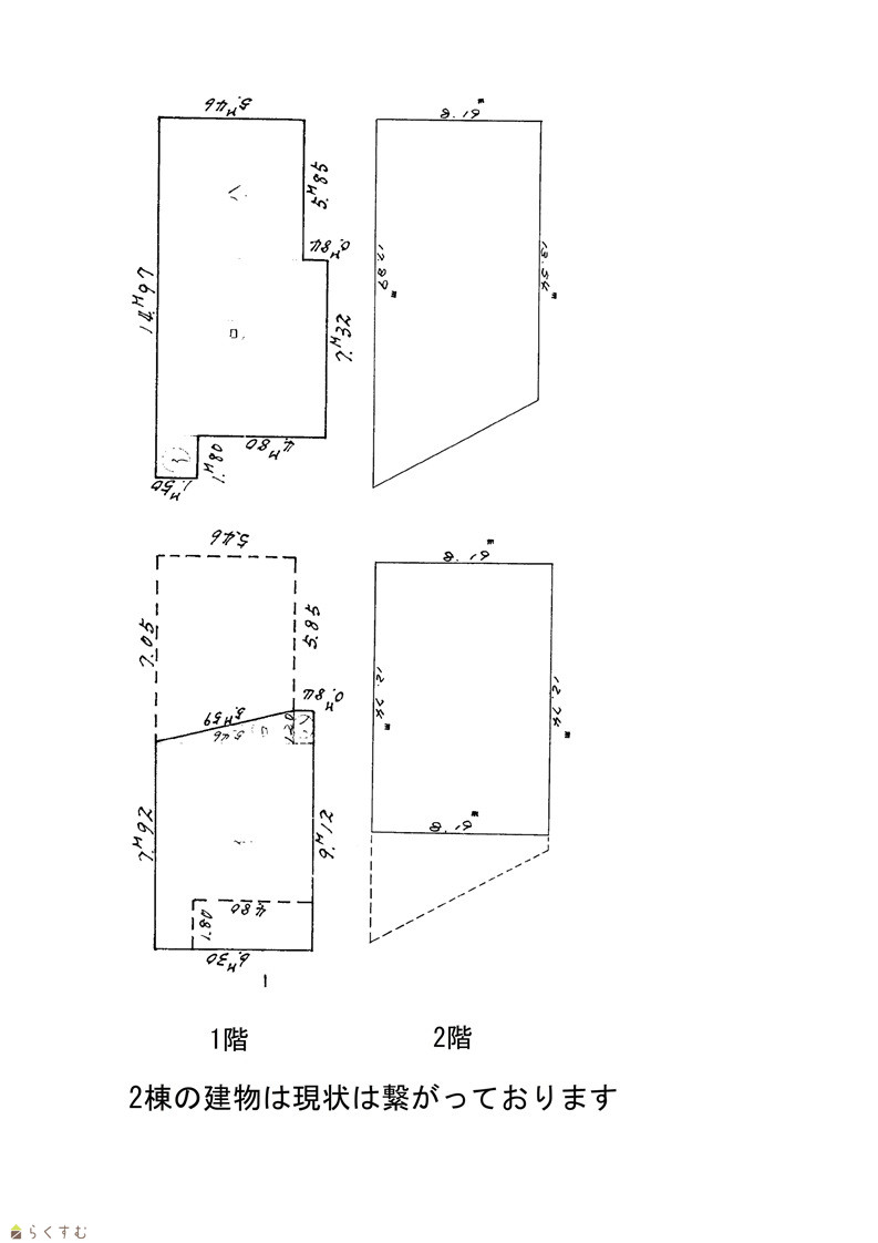
図面
詳細画像


物件概要

洋式トイレ新品★エアコン新品有り◆
物件コード 00052-100214
物件名 ◆貸倉庫事務所◆三条市荒町二丁目
交通 駅:弥彦線 北三条駅から徒歩12分、バス:荒町ポンプ場から徒歩2分
所在地 新潟県三条市荒町2丁目5番8号
物件種別 倉庫・工場・その他
総戸数 -
構造 木造鉄骨 階建 地上2階建
所在階/階数 - 号室 -
面積 367.97㎡ /111.31坪 方位 -
間取り -
賃料 8.8万円/月
管理費 -
礼金 - 敷金 2ヶ月
ほか初期費用 - その他諸費用 -
更新料 - 火災(家財)保険 加入必須
共益費 - 町内費 -
駐車場
敷地内2台可能。倉庫内に入れるともっと駐車可能です。
バイク料金 -
鍵交換費 - 清掃料 -
更新事務手数料 20,000円
保証区分 連帯保証人+保証会社
保証会社 区分:加入要
保証会社名:その他 (ジェイリース株式会社利用必須)
初回保証料:月額総額の100% 継続保証料:月額総額の10%
連帯保証人 区分:要
-
仲介手数料 88,000円
築年月 1971年5月(築54年)
利用制限 -
学校区 裏館小学校(1,011m)・第三中学校(664m)
設備 即引き渡し、駐車場あり
入居時期 即入居可
取引態様 仲介
備考 -
手数料負担割合/配分割合 貸主:0%   借主:100% / 元付:50%   客付:50%  
取り扱い会社

株式会社 ユタカ不動産

新潟県三条市旭町1丁目1-19-3ユタカビル

情報登録日 2024/08/10 次回更新予定日 2026/05/13
  • ◆貸倉庫事務所◆三条市荒町二丁目
    株式会社 ユタカ不動産
  • この物件を問い合わせる/無料
  • TEL: 0256-35-5825

この物件の地図・周辺情報・行政情報

この物件の周辺情報・行政情報を詳しく見る
【周辺情報】
物件の近くにあるコンビニや銀行・学校など、アイコン付のマップで詳しく表示できます!
【行政情報】
水道料や下水道料・ガス料金など、暮らしに関係のある情報を表示しています。

担当取扱い店舗情報

取扱い店舗画像
株式会社 ユタカ不動産
TEL: 0256-35-5825
所在地: 新潟県三条市旭町1丁目1-19-3ユタカビル
交通: 東三条駅
営業時間: 9:00~18:00/定休日:火曜・祭日
免許番号: 新潟見知事(9)第3203号 この会社の情報を詳しく見る
所属団体名: 新潟県宅地建物取引協会 三条支部
取引態様: 仲介
ホームページ: http://www.yutakafudousan.com